G45J直流式襯膠隔膜閥

G45J直流式襯膠隔膜閥

  • 質量穩定
  • 價格合理
  • 交貨快捷
  • 泰通閥門為您提供全套工程閥門解決方案
  • 銷售:021-6810 3333    6139 0811
  • 傳真:021-5168 6322
  • 地址:上海南匯空港工業區金聞路1288號

詳細介紹

產品特點
設計與制造:GB122239 結構長度:GB12221、JB1688 法蘭連接尺寸:GB4216、JB78 G45J直流式襯膠隔膜閥,直流式隔膜閥,襯膠隔膜閥 產品用途
本閥專用于控制非腐蝕性或一般腐蝕性介質,閥體內腔表面無襯里或覆有可供選擇的各種橡膠,適用于不同工作溫度和流體管路。
適用溫度:≤85℃、≤100℃、 ≤120℃(按照襯里和隔膜材料)
壓力等級:PN0.6、1.0、1.6
產品材料
閥體:鑄鐵、球墨鑄鐵、碳鋼、不銹鋼
閥蓋:鑄鐵、球墨鑄鐵、碳鋼、不銹鋼
襯里:無襯里、橡膠
隔膜:橡膠
閥瓣:鑄鐵、碳鋼
閥桿:碳鋼、不銹鋼手輪:鑄鐵
產品測試
襯里層:電火花檢測
試驗與檢驗按GB/T13297標準
公稱壓力:PN(Mpa)
閥體:PN×1.5
密封:PN×1.1
結構特點
隔膜閥是一種特殊形式的截止閥;
1、彈性密封的開閉件,確保沒有內漏;
2、流線型的流道,使得壓力損失小;
3、沒有填料函,因此沒有外漏;
4、閥體與蓋被中間隔膜隔開,使得隔膜上方的閥蓋,閥桿零件不受介質侵蝕;
5、隔膜可更換,維護費用低;
6、襯里材料的多樣性,可適用于各種介質,并具有良好的耐腐蝕性。
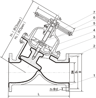
襯膠直流式隔膜閥主要尺寸及重量

DN
mm

公稱壓力
MPa

工作壓力
MPa

L
(mm)

D
(mm)

D1
(mm)

n-φd
(mm)

F
(mm)

H1
(mm)

H2
(mm)

D0
(mm)

質量

25

0.6

0.6

145

115

85

44

2

178

190

120

-

32

160

140

100

48

2

196

217

140

-

40

180

150

110

48

3

196

217

140

14

50

210

165

125

48

3

219

240

200

20

65

250

185

145

48

3

264

272

200

29

80

300

200

160

48

3

285

315

280

42

100

350

220

180

88

3

352

383

320

61

125

400

250

210

88

3

470

515

320

79.5

150

0.4

460

285

240

8-22

3

508

554

400

150

200

570

340

295

8-22

4

602

660

500

236.5

250

680

395

350

12-22

4

708

786

500

-

300

790

445

400

12-22

4

產品結構
溫馨提示:“G45J直流式襯膠隔膜閥”所有文字、數據、圖片均只適用于參考。
如需與實物相吻合的性能參數、結構尺寸參數等詳情請來電來函索取。
電話:021-68103333    傳真:021-51686322
  • 泰通二維碼掃一掃關注我們
  • 聯系我們
  • 公司地址:上海南匯空港工業區金聞路1288號
  • 浙江基地:溫州甌北東甌工業區
  • 銷售:021-68103333 
  • 郵箱:shttv@qq.com
© 2017 上海泰通閥門有限公司 版權所有 滬ICP備11033150號
Top

[關閉]免費接聽泰通銷售工程師電話

輸入手機或固定電話號碼,點擊“免費咨詢”按鈕后,
我們的服務人員會在15秒內回撥您。

手機請直接輸入:如 13878800000
座機前請加區號:如 02168103333
我們已對本次通話全程加密,您的通話費用我們已經幫您支付,請放心接聽!
免費通話所產生的費用由我們來支付,請放心接聽!
銷售熱線:021-6810 3333